استفاده از نمایشگر دایرهای در طراحی نسل بعد اپل واچ
اپل از ابتدای امر تاکنون و از تولد اولین نسل از مدل های ساعت هوشمند خود تا نسل ۳ تنها پیکربندی درونی این محصولات را ارتقاء داده؛ در رابطه با ظاهر این محصولات از همان طراحی اولیه استفاده کرده است.
حال آیفون ایکسآیفون ایکسآیفون ایکسآیفون ایکس چهره معمول گوشی اپل د را به کلی تغییر داده است، بنابراین این سوال پیش می آید که آیا شرکت اپل در طراحی ظاهری نسل بعد اپل واچ ها تغییر ایجاد خواهد کرد یا خیر؟

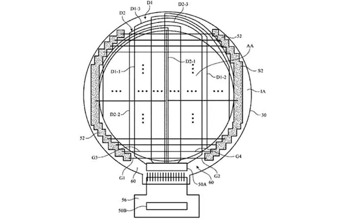
اخیرا گزارشی از Apple Insider منتشر شده است که در مورد یکی از طرح هایی که اپل در مرکز ثبت اختراعات و علامت تجاری ایالات متحده به ثبت رسانده است صحبت می کند این طرح به ثبت رسیده گجت الکترونیکی را نشان می دهد که از نمایشگری با لبه های منحنی استفاده خواهد کرد. همچنین این گزارش توضیح می دهد که چگونه می توان نمایشگری تولید کرد که از طراحی مستطیلی شکل معمول متفاوت باشد.

این طرح اولیه به این معناست که اپل در نظر دارد که برای نسل بعد اپل واچ های خود از صفحه مدرج ساعت دایرهای استفاده کند و این طرح در حال شکل گیری است. در این اختراع ثبت شده توضیح داده شده که می توان با کاهش شمار بیکسل ها و استفاده از ستون ها و پیکسل های نامنظم یک صفحه نمایش گرد و دایره ای را تولید کرد.
فروشگاه اینترنتی 19کالا در ادامه به جزئیات این خبر اشاره خواهد کرد.

البته درخواست اپل برای استفاده از این اختراع صرفا به معنای کاربرد این تکنولوژی در محصولات معمولی این شرکت نخواهد بود. تاکنون این شرکت اختراعات زیادی را به ثبت رسانده است که هیچ یک از آنها به مرحله نهایی تولید نرسیده اند؛ اما درخواست های ثبت اختراع معمولاً به این معنا است که شرکت قصد و توانایی توسعه در این جهت را در آینده خواهد داشت. در آینده فروش اپل واچ های دایره ای تنها یک افسانه نخواهد بود.




